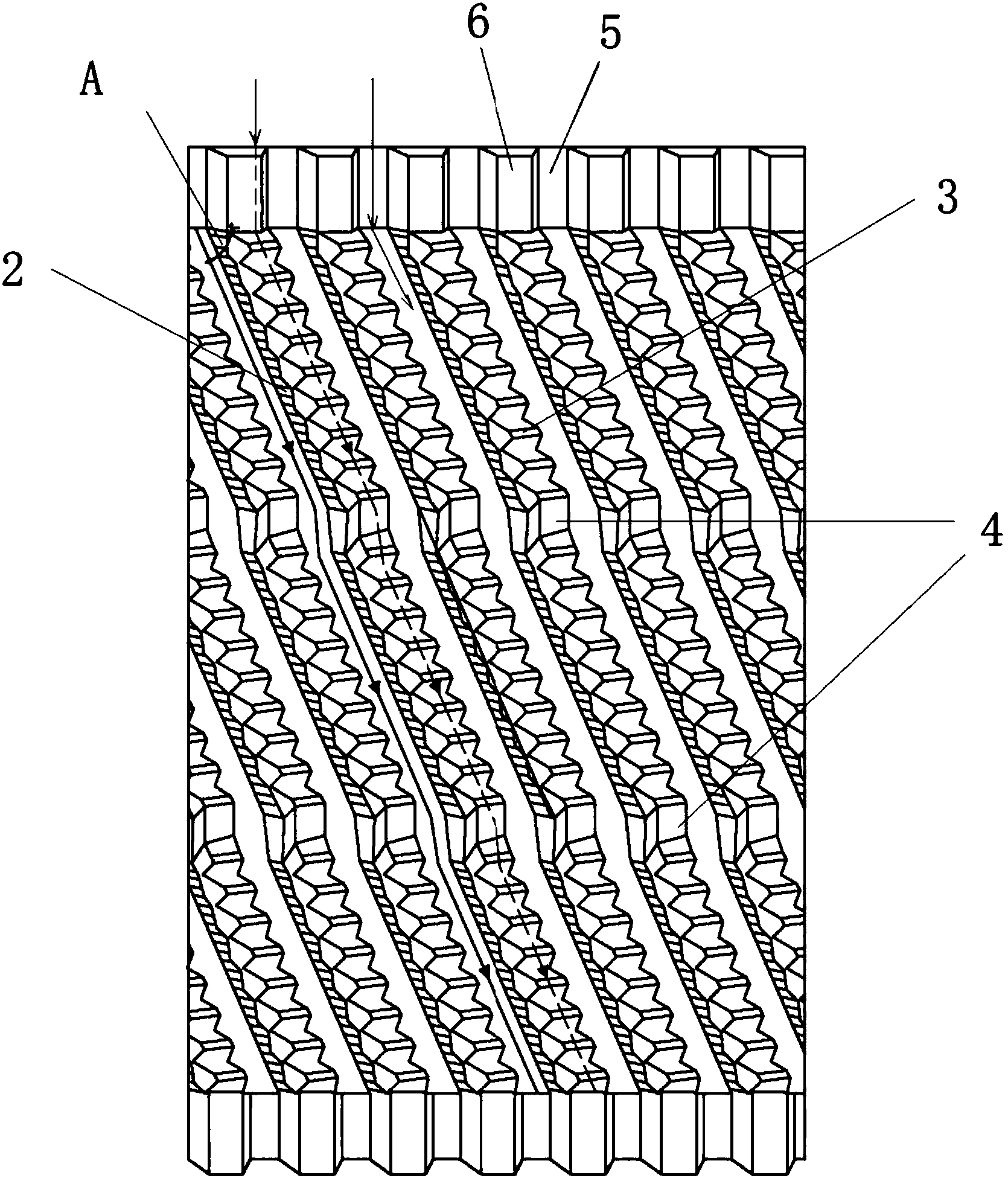
本实用新型公开了一种污水处理填料。该填料由许多片波纹薄板组合而成;单片波纹薄板上端和下端间隔设有一个个截面为梯形的凸台,中间段是一列列平行排列的倾斜的阶梯,每列倾斜的阶梯由一排排平行排列的凸出的台阶即小段波纹构成;相邻两片波纹薄板反向靠叠,在相邻两片波纹薄板之间形成了若干个蜂窝状凹渠,整个波纹填料模块由交错排列的一个个蜂窝状凹渠构成,每个蜂窝状凹渠内部又有许多倾斜的台阶。该填料结构设计独特,有利于大幅提高比表面积,挂膜率高;形成的蜂窝状凹渠使得水流能够重新分布,改变其流动方向,从而使水流在横截面上分布更为均匀;同时,水流在填料内部形成交叉流动混合,为废水和生物体的接触创造了良好的水力条件。
摘要附图

权利要求书
1.一种污水处理填料,其特征在于,该填料是由许多片波纹薄板组合而成的波纹填料模块;单片波纹薄板的上端和下端每间隔一段距离设有一个截面为梯形的凸台,间隔的距离与梯形的上底一样宽;与上端和下端的一个个截面为梯形的凸台相连的中间段是一列列平行排列的倾斜的阶梯,每一列倾斜的阶梯由一排排平行排列的凸出的台阶即小段波纹构成;相邻两片波纹薄板反向靠叠,在相邻两片波纹薄板之间形成了若干个蜂窝状凹渠,整个波纹填料模块由交错排列的一个个蜂窝状凹渠构成,每个蜂窝状凹渠内部又有许多台阶。
2.如权利要求1所述的污水处理填料,其特征在于,单片波纹薄板的波纹倾斜角即每列倾斜的阶梯与水平方向的夹角为40°~65°。
3.如权利要求1或2所述的污水处理填料,其特征在于,在一排排凸出的台阶中间设有多个高台阶。
4.如权利要求1或2所述的污水处理填料,其特征在于,相邻两片波纹薄板的上端和下端的截面为梯形的凸台分别粘结在一起。
5.如权利要求1或2所述的污水处理填料,其特征在于,单片波纹薄板的厚度为1-3cm,由若干片波纹薄板两两反向靠叠粘结组合而成的整个波纹填料模块的整体外形为长方体,长30~80cm,宽30~80cm,高50~200cm。
6.如权利要求1或2所述的污水处理填料,其特征在于,该填料材料主要成分为聚丙烯。
7.如权利要求6所述的污水处理填料,其特征在于,该填料材料中含有稳定剂和抗氧剂。
8.如权利要求7所述的污水处理填料,其特征在于,该填料材料中还含有润滑剂。
说明书
一种污水处理填料
技术领域
本实用新型属于污水处理技术领域,涉及一种污水处理填料。
背景技术
在废水生物膜法处理工艺中,填充的填料是其核心部分。填料是生物膜赖以栖息的场所,是生物膜的载体,影响着微生物的生长、繁殖、脱落和形态及空间结构,同时兼有截留悬浮物质的作用。再次,填料起到切割、阻挡气泡的作用,可以增加气泡在水体中的停留时间和气、液接触表面积,提高传质效率。由此可见填料有着极其重要的作用,对于生物膜法工艺的运行效果和能耗都有着十分重要的影响和意义。同时,载体填料的费用在生物膜法处理系统的基建费用中又占较大比重,所以,填料关系到整个生物膜法处理系统的合理性。
随着技术工艺的发展,生物填料从主要使用碎石、卵石、炉渣、和焦炭等小比表面积和低空隙率的实心填料,发展到如今使用高强度、轻质、比表面积大、空隙率高的填料,大大提高了生物膜法的处理效率。填料的性能指标有:水力学特征(包括比表面积孔隙率、形状尺寸和填充度)、稳定性、生物膜附着性及成本。填料的种类分为定型固定式填料、悬挂式填料(包括软性填料、半软性填料、组合填料及弹性填料)、分散型填料(包括堆积式填料、悬浮式填料)、新型生物填料等。
现有的接触氧化法工艺的悬挂式填料,存在易堵塞、易断裂、挂膜速度慢、对水量适应性不强等问题,并且使用寿命不长。
实用新型内容
本实用新型的目的在于克服现有技术的不足,提供一种不易堵塞断裂、挂膜速度快、使用寿命长的污水处理填料。
本实用新型的技术方案如下:
一种污水处理填料,该填料是由许多片波纹薄板组合而成的波纹填料模块;单片波纹薄板的上端和下端每间隔一段距离设有一个截面为梯形的凸台,间隔的距离与梯形的上底一样宽;与上端和下端的一个个截面为梯形的凸台相连的中间段是一列列平行排列的倾斜的阶梯,每一列倾斜的阶梯由一排排平行排列的凸出的台阶(即小段波纹)构成;相邻两片波纹薄板反向靠叠,在相邻两片波纹薄板之间形成了若干个蜂窝状凹渠,整个波纹填料模块是由交错排列的一个个蜂窝状凹渠构成的,每个蜂窝状凹渠内部又有许多台阶(即小段波纹)。
进一步地,单片波纹薄板的波纹倾斜角即每列倾斜的阶梯与水平方向的夹角为40°~65°。
进一步地,在一排排凸出的台阶(即小段波纹)中间设有多个高台阶。
进一步地,单片波纹薄板的厚度为1-3cm,由若干片波纹薄板两两反向靠叠粘结组合而成的整个波纹填料模块的整体外形为长方体,长30~80cm,宽30~80cm,高50~200cm。
组装时,相邻两片波纹薄板反向靠叠(即相邻两片波纹薄板的倾斜角反向排列),通过将相邻两片波纹薄板的上端和下端的截面为梯形的凸台分别粘结在一起,可组合成不同尺寸的模块。
进一步地,填料材料主要成分为聚丙烯,该聚丙烯与水的接触角小于90°,有良好的亲水性,质地轻且强度高。
进一步地,该填料材料中还含有部分稳定剂和抗氧剂,使得填料改性。抗氧化剂的加入使得聚丙烯填料具有卓越的抗氧化性能,稳定剂的加入能抑制或减缓填料的光氧老化或光老化过程,可以有效地延长填料的使用寿命。
更进一步地,该填料材料中还含有部分润滑剂,使得填料不容易堵塞,挂膜速度快。
本实用新型的污水处理填料的工作原理如下:当有污水通过反应池时,用鼓风机在填料底部曝气充氧,空气能自下而上,夹带污水由下至上流经填料,污水自由通过填料,空气逸走后,污水则在填料间隔自上向下返回池底。在填料表面形成生物膜,由于内部的缺氧环境势必形成生物膜内层供氧不足甚至处于厌氧状态,这样在生物膜中形成了由厌氧菌、兼性菌和好氧菌以及原生动物和后生动物形成的长食物链的生物群落,能有效地将不能好氧生物降解的COD部分厌氧降解为可生化的有机物。水中的悬浮杂质在填料上进行沉淀,分离出的泥渣在重力作用下沿着填料向下滑至池底,所以填料还可作为斜板沉淀的载体。
本实用新型的有益效果:
本实用新型的污水处理填料的结构设计独特,单片波纹薄板的波纹纹路在纵向上呈一列列倾斜的阶梯状排布,由若干片波纹薄板两两反向靠叠粘结组合而成的整个波纹填料模块的整体外形为长方体,模块内部为蜂窝状(内部有许多交错的蜂窝状凹渠,每个蜂窝状凹渠内部又有许多倾斜的台阶),有利于大幅提高比表面积,挂膜率高;形成的蜂窝状凹渠使得水流能够重新分布,改变其流动方向,从而使水流在横截面上分布更为均匀;同时,水流在填料内部形成交叉流动混合,为废水和生物体的接触创造了良好的水力条件。
本实用新型的污水处理填料,属于接触氧化法工艺的悬挂式填料。与生物接触氧化法的普通悬挂式填料相比,该填料不存在堵塞、断裂的问题,并且使用寿命长。填料为高分子生物材质,挂膜速度快,并且对水量适应性强。填料呈蜂窝状,除可用于生物挂膜外,还可作为斜板沉淀的载体,使得曝气池和沉淀池可以合建在一起,减少了二沉池,使得整个污水处理系统更加紧凑,节约了空间及成本。





