一种污水杂质过滤器,外壳外面铰接有多个支撑架,支撑架为“L”型,支撑架包括垂直相交的挡杆和支撑杆,挡杆位于支撑杆上端,挡杆与支撑杆的相交处与外壳相铰接,支撑架向上翻折时、挡杆紧贴在外壳外面,支撑架向下翻折时、支撑杆紧贴在外壳外面,且外壳的下端悬空架起,支撑杆的下端外侧固定连接有突块,突块的外侧面带有外螺纹,突块上侧的支撑杆外套穿有与突块相对应的螺母,螺母带有与突块的外螺纹相对应的内螺纹,支撑架向下翻折后、螺母与突块螺纹相连,支撑架向上翻折后、螺母架设在支撑杆上。突块的外侧面倾斜设置,突块的外侧面上端向内倾斜、下端向外倾斜。外壳的内侧壁上部固定连接有弹性夹板,弹性夹板与外壳围成的空间开口向上。

权利要求书
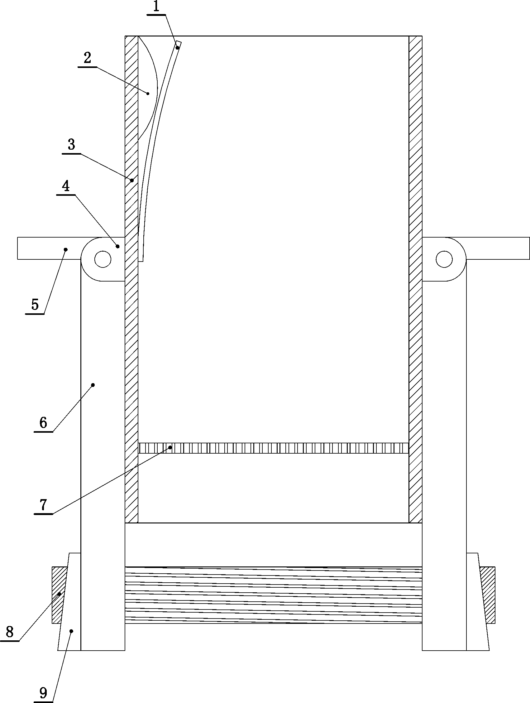
1.一种污水杂质过滤器,包括上下贯通的外壳(3),外壳(3)内的底部固定连接有过滤网(7),其特征在于,外壳(3)外面铰接有多个支撑架,支撑架为“L”型,支撑架包括垂直相交的挡杆(5)和支撑杆(6),挡杆(5)位于支撑杆(6)的上端,挡杆(5)与支撑杆(6)的相交处与外壳(3)相铰接,支撑架向上翻折时、挡杆(5)紧贴在外壳(3)外面,支撑架向下翻折时、支撑杆(6)紧贴在外壳(3)外面,且外壳(3)的下端悬空架起,支撑杆(6)的下端外侧固定连接有突块(9),突块(9)的外侧面带有外螺纹,突块(9)上侧的支撑杆(6)外套穿有与突块(9)相对应的螺母(8),螺母(8)带有与突块(9)的外螺纹相对应的内螺纹,支撑架向下翻折后、螺母(8)与突块(9)螺纹相连,支撑架向上翻折后、螺母(8)架设在支撑杆(6)上。
2.根据权利要求1所述的污水杂质过滤器,其特征在于,所述突块(9)的外侧面倾斜设置,突块(9)的外侧面上端向内倾斜、下端向外倾斜。
3.根据权利要求1所述的污水杂质过滤器,其特征在于,所述外壳(3)的内侧壁上部固定连接有弹性夹板(1),弹性夹板(1)与外壳(3)围成的空间开口向上。
4.根据权利要求3所述的污水杂质过滤器,其特征在于,所述弹性夹板(1)为弧形板。
5.根据权利要求3所述的污水杂质过滤器,其特征在于,所述弹性夹板(1)外侧的所述外壳(3)的内侧壁固定连接有突条(2)。
6.根据权利要求4所述的污水杂质过滤器,其特征在于,所述突条(2)横向设置,突条(2)位于所述弹性夹板(1)的上方。
7.根据权利要求1所述的污水杂质过滤器,其特征在于,所述外壳(3)的横截面外轮廓为圆形,所述支撑架等高、等间距均匀分布。
8.根据权利要求1所述的污水杂质过滤器,其特征在于,所述外壳(3)的横截面外轮廓为正多边形,所述支撑架位于外壳(3)每个立面的中间位置,且等高分布。
9.根据权利要求1所述的污水杂质过滤器,其特征在于,所述外壳(3)外面固定连接有连接件(4),所述支撑架通过连接件(4)与外壳(3)铰接相连。
说明书
污水杂质过滤器
技术领域
本发明涉及一种建筑工程使用的过滤装置,尤其涉及一种污水杂质过滤器。
背景技术
在建筑施工过程中,经常需要排放污水,通常这些污水从排污井口通过排污管道排走,但建筑工地的污水常含有杂质,容易在排污井口处或排污管道内聚集,造成堵塞。
发明内容
本发明针对不足,提供一种能够阻挡杂质、避免堵塞的污水杂质过滤器。
本发明解决上述技术问题的技术方案如下:
一种污水杂质过滤器,包括上下贯通的外壳,外壳内的底部固定连接有过滤网,其特征在于,外壳外面铰接有多个支撑架,支撑架为“L”型,支撑架包括垂直相交的挡杆和支撑杆,挡杆位于支撑杆的上端,挡杆与支撑杆的相交处与外壳相铰接,支撑架向上翻折时、挡杆紧贴在外壳外面,支撑架向下翻折时、支撑杆紧贴在外壳外面,且外壳的下端悬空架起,支撑杆的下端外侧固定连接有突块,突块的外侧面带有外螺纹,突块上侧的支撑杆外套穿有与突块相对应的螺母,螺母带有与突块的外螺纹相对应的内螺纹,支撑架向下翻折后、螺母与突块螺纹相连,支撑架向上翻折后、螺母架设在支撑杆上。
根据所述的污水杂质过滤器,其特征在于,所述突块的外侧面倾斜设置,突块的外侧面上端向内倾斜、下端向外倾斜。
根据所述的污水杂质过滤器,其特征在于,所述外壳的内侧壁上部固定连接有弹性夹板,弹性夹板与外壳围成的空间开口向上。
根据所述的污水杂质过滤器,其特征在于,所述弹性夹板为弧形板。
根据所述的污水杂质过滤器,其特征在于,所述弹性夹板外侧的所述外壳的内侧壁固定连接有突条。
根据所述的污水杂质过滤器,其特征在于,所述突条横向设置,突条位于所述弹性夹板的上方。
根据所述的污水杂质过滤器,其特征在于,所述外壳的横截面外轮廓为圆形,所述支撑架等高、等间距均匀分布。
根据所述的污水杂质过滤器,其特征在于,所述外壳的横截面外轮廓为正多边形,所述支撑架位于外壳每个立面的中间位置,且等高分布。
根据所述的污水杂质过滤器,其特征在于,所述外壳外面固定连接有连接件,所述支撑架通过连接件与外壳铰接相连。
本发明既可以放置于排污下水管道的井口处,也可放置在露天水沟内,甚至可以直接放置于河边。当放置于排污下水管道的井口处时,将支撑架上翻打开,支撑杆能支撑架设在排污井口边缘,当放置在露天水沟内和河边时,将支撑架向下翻折,使支撑杆的自由端位于外壳下方,使外壳的下端口被架起悬空,以方便顺利排水。
将建筑工地的排污水管出水口置于本发明中,可将工地污水中的杂质过滤去掉,以避免堵塞排污井口和排污管道,操作使用方便,效果好。





