本发明公开了一种高效率化学废水废渣处理设备,所述反应腔体的顶部一侧开设有进料口,所述反应腔体的内部中间位置还竖向装设有转动轴,所述转动轴的顶端与外部的转动电机的转子同轴连接,且转动电机的转子与转动轴均为中空设计,且相通连接,所述转动电机的转子外部开设有除臭净化液添加口,所述转动轴的外部周向螺旋安装有搅拌叶片,所述反应腔体的底部出料口外部装设有脱水管道,所述脱水管道的侧壁为网状,所述脱水管道的侧面装设有鼓风电机。该高效率化学废水废渣处理设备通过采用螺旋内出液式净化液添加方式,使得废水、废渣的除臭更加的充分、彻底,加设的高强度热风机脱水结构,使得废渣脱水更加的彻底。
摘要附图

权利要求书
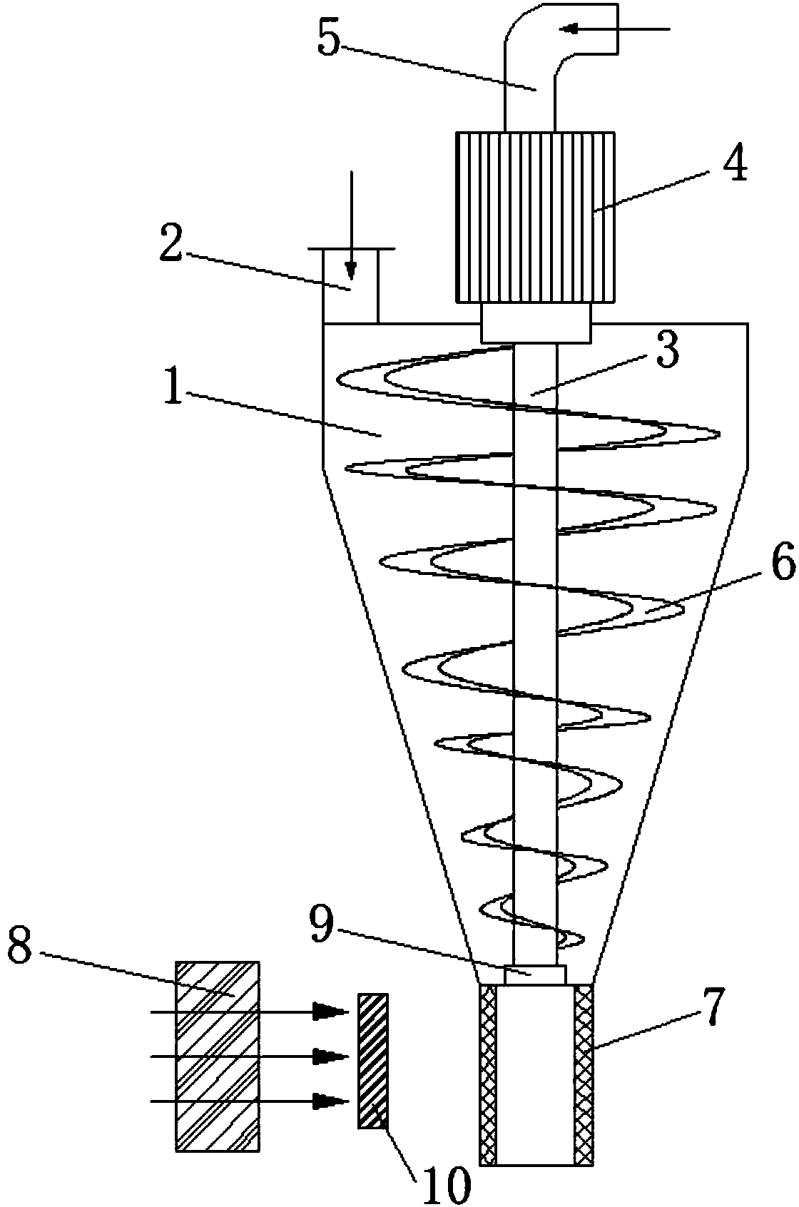
1.一种高效率化学废水废渣处理设备,包括反应腔体(1),其特征在于:所述反应腔体(1)整体呈筒状,且下部分筒体的内径长度逐渐减小,所述反应腔体(1)的顶部一侧开设有进料口(2),所述反应腔体(1)的内部中间位置还竖向装设有转动轴(3),所述转动轴(3)的顶端与外部的转动电机(4)的转子同轴连接,且转动电机(4)的转子与转动轴(3)均为中空设计,且相通连接,所述转动电机(4)的转子外部开设有除臭净化液添加口(5),所述转动轴(3)的外部周向螺旋安装有搅拌叶片(6),所述反应腔体(1)的底部出料口外部装设有脱水管道(7),所述脱水管道(7)的侧壁为网状,所述脱水管道(7)的侧面装设有鼓风电机(8)。
2.根据权利要求1所述的一种高效率化学废水废渣处理设备,其特征在于:所述搅拌叶片(6)的整体形状与反应腔体(1)的形状相适配。
3.根据权利要求1所述的一种高效率化学废水废渣处理设备,其特征在于:所述转动轴(3)的底端与反应腔体(1)的底部之间通过滚珠轴承(9)连接。
4.根据权利要求1所述的一种高效率化学废水废渣处理设备,其特征在于:所述鼓风电机(8)的出风口朝向脱水管道(7)的侧壁方向,且鼓风电机(8)的出风口前侧还装设有电加热结构(10)。
说明书
一种高效率化学废水废渣处理设备
技术领域
本发明涉及化学处理设备技术领域,具体为一种高效率化学废水废渣处理设备。
背景技术
废水、废渣(污染物)指人类生产和生活过程中排出或投弃的液体、固体废弃物。按其来源分:工业废渣、农业废渣和城市生活垃圾等。在化学工业的生产中常常需要进行废水废渣的处理,目前常用的化学废水废渣处理设备存在工作效率低的缺点,导致废水废渣的处理不彻底,不能满足使用的需要。
发明内容
本发明的目的在于提供一种高效率化学废水废渣处理设备,以解决上述背景技术中提出的问题。
为实现上述目的,本发明提供如下技术方案:一种高效率化学废水废渣处理设备,包括反应腔体,所述反应腔体整体呈筒状,且下部分筒体的内径长度逐渐减小,所述反应腔体的顶部一侧开设有进料口,所述反应腔体的内部中间位置还竖向装设有转动轴,所述转动轴的顶端与外部的转动电机的转子同轴连接,且转动电机的转子与转动轴均为中空设计,且相通连接,所述转动电机的转子外部开设有除臭净化液添加口,所述转动轴的外部周向螺旋安装有搅拌叶片,所述反应腔体的底部出料口外部装设有脱水管道,所述脱水管道的侧壁为网状,所述脱水管道的侧面装设有鼓风电机。
优选的,所述搅拌叶片的整体形状与反应腔体的形状相适配。
优选的,所述转动轴的底端与反应腔体的底部之间通过滚珠轴承连接。
优选的,所述鼓风电机的出风口朝向脱水管道的侧壁方向,且鼓风电机的出风口前侧还装设有电加热结构。
与现有技术相比,本发明的有益效果是:该高效率化学废水废渣处理设备通过采用螺旋内出液式净化液添加方式,使得废水、废渣的除臭更加的充分、彻底,加设的高强度热风机脱水结构,使得废渣脱水更加的彻底,便于进行废渣收集,满足了使用的需要。





